Шлем Shoei Opticson приближается к производству

Система отображения на лобовом стекле Shoei может появиться в ближайшее время

Патентные чертежи раскрывают более подробную информацию о Shoei Opticson

Shoei Opticson может скоро появиться здесь
Идея иметь проекционный дисплей (HUD) внутри мотоциклетного шлема далеко не нова, но, несмотря на десятки фальстартов, это все еще не технология, которой удалось проникнуть в массовое производство.
Но теперь, когда гигант по производству шлемов Shoei продемонстрировал запланированную систему HUD на недавних выставках мотоциклов в Осаке и Токио, у вас больше шансов, чем когда-либо, что вскоре вы сможете ездить с дисплеем в шлеме.
Сама технология HUD не нова. Автомобили с проекционными дисплеями предлагаются с 1990-х годов, а в армии эта технология существует еще дольше. Тем не менее, взрыв портативных вычислительных мощностей за последнее десятилетие или около того, продемонстрированный и обусловленный рынком смартфонов, означает, что доступный, легкий и прочный HUD, устанавливаемый на шлем, сейчас более возможен, чем когда-либо прежде.

Shoei впервые продемонстрировала свою версию идеи на выставке CES в Лас-Вегасе в 2019 году, но с тех пор проект значительно продвинулся. Теперь под названием «Opticson», зарегистрированным торговой маркой Shoei, что указывает на их коммерческие намерения в отношении проекта, несколько шлемов были выставлены в Осаке и Токио в марте этого года.
Технология достаточно проста: перевернутое изображение того, что вы хотите видеть на HUD, проецируется на полупрозрачную наклонную поверхность, называемую объединителем, перед вашим глазом, поэтому, когда вы видите его отражение, это правильное направление. .
Фокус установлен таким образом, что кажется, будто он парит на некотором расстоянии впереди вас, а это означает, что изображение будет четким, даже если вы смотрите на дорогу впереди. Хитрость, конечно же, заключается в том, чтобы упаковать все это, а также вычислительные системы и источник питания в пределы шлема.

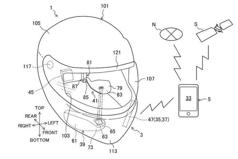
Shoei удалось упаковать свою секцию проектора в подбородок шлема, направляя изображение на объединитель, установленный на регулируемом кронштейне, который свисает перед вашим правым глазом.
В отличие от предыдущих попыток создания велосипедного HUD-оборудования, таких как неудачный шлем Skully и дополнительная система Nuviz, комбайнер отделен от проектора, и его можно убрать из поля зрения, если вы не хотите, чтобы он был на виду.
Конструкция кронштейна также обеспечивает регулировку по осям X и Y, чтобы соответствовать разным формам головы и положениям глаз. Система подключается к смартфону, поэтому ей не нужно включать собственный GPS и картографию, чтобы иметь возможность предлагать спутниковую навигацию, которая, безусловно, является наиболее заметным применением этой технологии.

Соединение Bluetooth вместе с приложением позволяет вашему телефону отправлять навигационную информацию на простой пошаговый дисплей, отображаемый в HUD. Базовая информация, такая как скорость, расстояние до следующего поворота и указания, какую полосу движения использовать, была продемонстрирована на стенде Shoei в Осаке и Токио.
Прошло три года с тех пор, как первоначальная версия идеи была впервые продемонстрирована, и полностью работающие демонстрационные прототипы, представленные в Японии в этом году, доказывают, что проект развивается быстрыми темпами.
Shoei и их технологический партнер в проекте, компания NS West Inc, базирующаяся в Хиросиме, тем временем также подали несколько патентов на систему. Эпоха шлемов HUD, хотя и запоздалая, может скоро наступить.
Изучена система Shoei HUD
Поворот за поворотом Изображение проецируется на полупрозрачный «объединитель» перед вашим правым глазом, чтобы предоставить спутниковую навигационную информацию в простой форме, чтобы она была четкой, но не отвлекала. Smart Moves Блок проектора крепится на подбородочной планке вместе с блоком управления и модулем Bluetooth для связи со смартфоном. Яркие идеи Аккумуляторная батарея встроена в шлем, а за козырьком установлен датчик освещенности, позволяющий HUD изменять яркость в зависимости от окружающего освещения. Простая регулировка Компания Shoei запатентовала систему ручной регулировки, которая позволяет перемещать комбайнер вверх-вниз и из стороны в сторону в зависимости от положения глаз, фиксируя его на месте, когда вы нашли оптимальное место. Откидная конструкция Сам комбайнер установлен на скользящем шарнире, поэтому его можно откинуть, не касаясь передней части шлема.

Комментарии
0 комментарии